Εισαγωγή προϊόντος
Οι βαριές ράγες GB είναι βαρύ σιδηροδρομικοί χάλυβες για τους σιδηρόδρομους που παράγονται σύμφωνα με τα εθνικά υποχρεωτικά πρότυπα. Η διαδικασία παραγωγής τους ενσωματώνει τη σύγχρονη μεταλλουργική τεχνολογία και την τεχνολογία επεξεργασίας ακριβείας. Οι φούρνοι ή οι μετατροπείς ηλεκτρικού τόξου χρησιμοποιούνται στο στάδιο της χαλύβδινης παραγωγής, σε συνδυασμό με τις διεργασίες εξαφάνισης κενού κλιβάνου LF και VD Furnace Vocuum για την παραγωγή τετηγμένου χάλυβα υψηλής ποιότητας. Αφού ο τετηγμένος χάλυβας χυθεί σε μπλουζάκια από μια συνεχή μηχανή χύτευσης, εισέρχεται στη γραμμή παραγωγής ζεστού κυλίνδρου και σχηματίζεται σταδιακά μέσω πολλαπλών περάσματος. Προκειμένου να βελτιωθεί η συνολική απόδοση, χρησιμοποιούνται διαδικασίες θερμικής επεξεργασίας, όπως η ηλεκτρονική ομαλοποίηση και η απόσβεση εκτός σύνδεσης για την προσαρμογή της οργανωτικής δομής και των μηχανικών ιδιοτήτων του χάλυβα.
P 75 75 kg GB Standard Freight Heavy Rail είναι μια βαριά σιδηροτροχιά που χρησιμοποιείται συνήθως στο σιδηροδρομικό φορτίο. Είναι συνήθως κατασκευασμένο από υλικά όπως U71MN και U75V. Λαμβάνοντας το U75V ως παράδειγμα, είναι ένα σιδηροδρομικό υλικό μικρο-κράμα που περιέχει βαναδίου. Η προσθήκη του βαναδίου μπορεί να βελτιώσει τη δύναμη, την ανθεκτικότητα και τη φθορά της αντίστασης της σιδηροτροχιάς, επιτρέποντάς του να αντέξει το βαρύ βάρος του άξονα και τα συχνά φορτία των φορτίων.

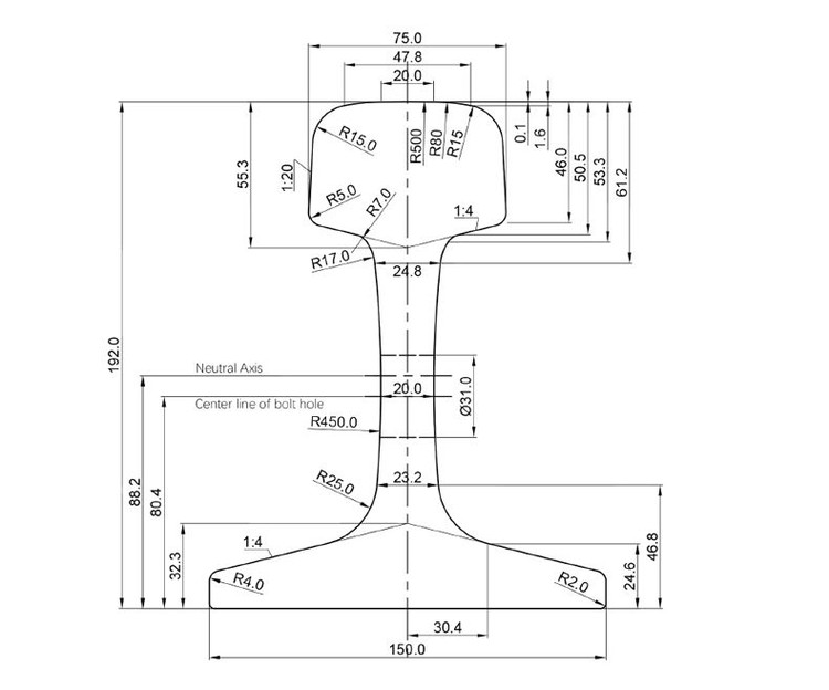
Προδιαγραφές προϊόντων

Εφαρμογή προϊόντος
P 75 75 kg GB Το βαρύ σιδηροδρομικό φορτίο χρησιμοποιείται κυρίως σε γραμμές βαρέως φορτίου, όπως οι σιδηροδρομικές γραμμές Daqin και άλλες ειδικές γραμμές μεταφοράς άνθρακα και άλλες γραμμές σιδηροδρομικών κορμών που αναλαμβάνουν εργασίες μεγάλης κλίμακας μεταφοράς εμπορευμάτων. Αυτές οι γραμμές συνήθως εκτελούν αμαξοστοιχίες βαρέων και υψηλής πυκνότητας και έχουν εξαιρετικά υψηλές απαιτήσεις για την χωρητικότητα των εδράνων και την αντοχή στη φθορά των σιδηροτροχιών. P 75 75 kg GB Η βαριά σιδηροτροχιά μπορεί να προσαρμοστεί καλά σε τέτοιες συνθήκες εργασίας και να εξασφαλίσει την ασφάλεια και την αποτελεσματικότητα της μεταφοράς σιδηροδρόμων.

Το Gnee Rail είναι ένας πυρήνας προμηθευτής των προϊόντων βαρέων σιδηροδρόμων GB Standard, που δεσμεύονται να παρέχουν υλικά υψηλής ποιότητας για την κατασκευή παγκόσμιων σιδηροδρομικών υποδομών. Έχουμε δημιουργήσει ένα αυστηρό σύστημα ποιότητας ιχνηλασίας, εφαρμόζοντας πλήρη έλεγχο ποιότητας από τις πρώτες ύλες που εισέρχονται στο εργοστάσιο σε τελικά προϊόντα που εγκαταλείπουν την αποθήκη και εξοπλισμένα με μια επαγγελματική ομάδα διεθνών εμπορικών υπηρεσιών, η οποία μπορεί να παρέχει στους πελάτες πολυεπίπεδη επιχειρηματική υποστήριξη, τεχνικές συμβουλές και υπηρεσίες μετά την πώληση.







Δημοφιλείς Ετικέτες: P 75 75 kg GB Foright Heavy Rail, China P 75 75 kg GB Foright Heavy Rail κατασκευαστές, προμηθευτές, εργοστάσιο






